Моторизованный турникет-трипод TTR-10AB предназначен для установки на полу и применяется в качестве компактного преграждающего устройства для управления потоками людей на проходных промышленных предприятий, в банках, административных учреждениях, магазинах, вокзалах, аэропортах.
Турникет-трипод электромеханический с автоматическими планками «Антипаника» PERCo-TTR-10А, приводной, всепогодный, предназначен для использования в качестве преграждающего устройства в системах платного доступа, в т.ч. на транспорте, а также для управления потоками людей на проходных промышленных предприятий, в банках, административных учреждениях, магазинах, вокзалах, аэропортах и т.п. Для более комфортного прохода через турникет доворот преграждающих планок осуществляется при помощи электропривода. Также в турникете предусмотрена возможность быстрого открытия зоны прохода в экстренных ситуациях.
Турникет производится в трех исполнениях: PERCo-TTR-10AT с кронштейном для закрепления на вертикальных цилиндрических стойках (трубах, поручнях), например, в транспорте, PERCo-TTR-10AK с кронштейном для закрепления на вертикальной поверхности (стене) или на полу (PERCo-TTR-10AB).
Количество турникетов, необходимое для обеспечения быстрого и удобного прохода людей, рекомендуется определять исходя из расчета пропускной способности турникет. Изготовителем рекомендуется устанавливать по одному турникету на каждые 500 человек, работающих в одну смену, или из расчета пиковой нагрузки 30 человек в минуту.
Для питания турникета используются аккумуляторные батареи или источники питания постоянного тока с номинальным выходным напряжением 24 В.
Турникет по устойчивости к воздействию климатических факторов соответствует условиям У1 по ГОСТ 15150-69 (для эксплуатации на открытом воздухе).
Установка турникета без навеса возможна только в районах, соответствующих данным климатическим условиям.
Эксплуатация турникета разрешается при температуре окружающего воздуха от –40°С до +50°С (при использовании под навесом до +55°С) и относительной влажности воздуха до 80% при +25°С.
Пульт дистанционного управления, входящий в комплект поставки турникета, по устойчивости к воздействию климатических факторов соответствует категории УХЛ4 по ГОСТ15150-69 (для эксплуатации в помещениях с искусственно регулируемыми климатическими условиями). Эксплуатация пульта дистанционного управления разрешается при температуре окружающего воздуха от +1°С до +40°С и относительной влажности воздуха до 80% при + 25°С.
Комплект поставки
• Турникет со встроенной электроникой управления: 1 шт.
• Планки Антипаника: 3 шт.
• Пульт дистанционного управления: 1 шт.
• Паспорт и руководство по эксплуатации: 1 экз.
В комплект не входят и приобретаются отдельно:
• источник питания LRS-150-24
Основные технические характеристики
• Напряжение питания турникета (постоянного тока), В: 22÷29
• Ток потребления, А: не более 5,5
• Мощность, потребляемая турникетом, Вт: 15÷150
• Пропускная способность турникета, чел/мин:
- в режиме свободного прохода: 60
- в режиме однократного прохода: 30
• Ширина зоны прохода, мм: 500
• Усилие поворота преграждающей планки, кгс: не более 1.5
• Длина кабеля пульта дистанционного управления, м: не менее 6,6
• Степень защиты оболочки: IP54 по EN 60529
• Класс защиты от поражения электрическим током: III (IEC 61140)
• Степень вандалозащищенности: IK09 (ГОСТ IEC 62262)
• Степень стойкости к вибрации: М28 и М29 (ГОСТ17516.1-90)
• Средняя наработка на отказ, проходов: не менее 3 000 000
• Средний срок службы, лет: не менее 8
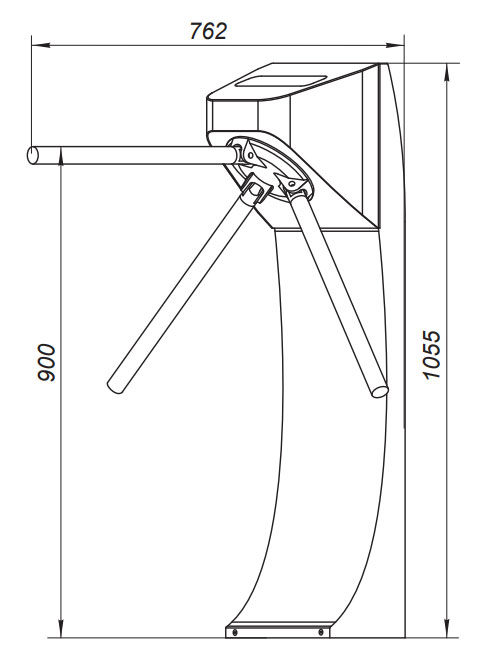
• Габаритные размеры турникета, мм: 1055x806x762 мм
• Масса (нетто), кг: не более 55

Основные особенности
• Турникет предназначен для работы как на открытом воздухе, так и внутри салонов транспортных средств и в помещениях. Корпус турникета выполнен из высококачественной нержавеющей стали со вставкой из поликарбоната.
• Турникет может работать как автономно, от пульта дистанционного управления или устройства радиоуправления, так и в составе СКУД.
• Турникет оборудован автоматическими планками «Антипаника». Функция аварийного открытия прохода турникета реализуется путем автоматического опускания преграждающей планки в вертикальное положение. Это происходит в случае подачи команды от устройства аварийного открытия прохода Fire Alarm или при отключении электропитания турникета.
• Турникет снабжен блоком индикации режимов работы. Кроме этого, в турникете предусмотрен выход для подключения дополнительной внешней индикации.
• Турникет имеет входы для подключения датчика контроля зоны прохода, сирены, а также устройства аварийного открытия прохода Fire Alarm (например, пожарной охранной системы).
• Турникет имеет выход для подключения сигнализации о низком уровне напряжения источника питания.
• В турникете предусмотрено два режима управления – импульсный и потенциальный.
• Механизм турникета обеспечивает автоматический доворот преграждающих планок до исходного положения после каждого прохода.
• После поворота преграждающих планок на угол более 60° их обратный поворот блокируется.
• Электропривод ротора обеспечивает плавную бесшумную работу турникета.
• На турникет подается безопасное для человека напряжение питания – 24 В.
Устройство турникета
Общий вид турникета показан на рис. 2. Номера позиций в тексте настоящего руководства указаны в соответствии с рис. 2 и 3.
Турникет состоит из корпуса (6) с крышкой (1), маховика (4) с тремя преграждающими планками (3) и пульта дистанционного управления. Кроме того, турникет комплектуется кронштейном для крепления на круглых стойках (например, в транспорте) или на стене, в зависимости от желания заказчика. Также турникет может комплектоваться другим специальным оборудованием, не входящим в основной комплект поставки.

1 – крышка турникета; 2 – блок индикации; 3 – планка преграждающая; 4 – маховик; 5 – болты крепления маховика; 6 – корпус турникета; 7 – винты крепления крышки турникета.

8 – кабель индикации; 9 – плата управления; 10 – плата интерфейса; 11 – механизм аварийного открытия прохода; 12 – привод в сборе; 13 – точка заземления; 14 – стопорное устройство
Корпус турникета
Доступ к внутренним элементам турникета осуществляется через съемную крышку (1). Фиксация крышки на стойке осуществляется при помощи 4-х винтов крепления (7) под ключ SW3. При работе турникета крышка должна быть закрыта. Внутри корпуса под крышкой расположены (см. рис. 3): плата управления (электроприводом) (9), плата интерфейса (10), и механизм турникета, включающий в себя:
• привод (12) в сборе с электродвигателем и платой датчика положения маховика
• электромеханическое стопорное устройство (14) с оптическими датчиками положения стопора
• механизм аварийного открытия прохода (11) (автоматического опускания преграждающей планки «Антипаника»).
Блок индикации
Для информирования о текущем состоянии и установленном режиме работы турникета на его крышке (1) расположен блок индикации (2). Блок индикации имеет три пиктографических индикатора:
– индикатор разрешения прохода в одном из направлений (зеленая стрелка)
– индикатор запрета прохода (красный крест)
– индикатор разрешения прохода в другом направлении (зеленая стрелка)
Устройства управления турникетом
Управление турникетом может осуществляться с помощью пульта дистанционного управления, устройства радиоуправления или контроллера СКУД. Указанные устройства могут быть подключены к турникету по отдельности, все вместе (параллельно) или в любой комбинации друг с другом.
Пульт дистанционного управления
Пульт дистанционного управления выполнен в виде небольшого настольного прибора в корпусе из ударопрочного АБС пластика и предназначен для подачи команд оператором при ручном режиме управления турникетом.
На лицевой панели пульта дистанционного управления расположены три кнопки для подачи команд. Средняя кнопка STOP предназначена для подачи команды «Запрет прохода». Левая и правая кнопки LEFT, RIGHT предназначены для подачи команды разблокировки турникета в выбранном направлении. Над кнопками расположены светодиодные индикаторы состояния поворотного механизма турникета. Красный индикатор «Stop» указывает на то, что оба направления прохода заблокированы.
Устройство Fire Alarm
Подключение устройства для подачи команды аварийного открытия прохода производится к контактам FA и GND клеммной колодки X2.1 платы интерфейса в соответствии со схемой электрических соединений турникета (см. рис. 7 и 18). Если устройство Fire Alarm не используется, то между контактами FA и GND платы управления необходимо установить перемычку проводом. При поставке данная перемычка установлена.
Работа турникета по командам устройства Fire Alarm описана в руководстве.
При подаче управляющего сигнала на вход FA турникет переходит в режим аварийного открытия прохода Fire Alarm. В этом режиме все поступающие команды управления турникетом игнорируются. Центральная преграждающая планка автоматически опускается под собственным весом и принимает вертикальное положение, освобождая проход. На блоке индикации крышки (2) обе зеленые стрелки разрешения направления прохода будут мигать, кратковременно сменяясь на красный крест.
Если сигнал Fire Alarm поступит на турникет во время совершения прохода, то на блоках индикации включится индикация режима Fire Alarm, но аварийное открытие прохода произойдет только после доворота преграждающей планки до исходного положения.
После снятия управляющего сигнала Fire Alarm на блоках индикации загорается красный индикатор запрета прохода, и турникет переходит в ждущий режим с опущенной планкой.
Для продолжения работы преграждающую планку необходимо вручную перевести в горизонтальное положение, в котором она фиксируется.
Также аварийное открытие прохода турникета происходит при снятии питающего напряжения (например, при выходе из строя подключенного источника питания).
Управление турникетом от СКУД
Турникет может использоваться в качестве исполнительного устройства при работе в составе СКУД. Выходы контроллера СКУД подключаются к контактам GND, L, ST, R клеммной колодки X2.1 платы интерфейса. Входы контроллера СКУД подключаются к контактам С (Common), Pass A, Pass B выносной клеммной колодки X1.3. Подключение производится в соответствии со схемой электрических соединений турникета.
При необходимости входы контроллера могут быть подключены к контактам READY, DETECT и COM клеммной колодки X5 для отслеживания соответствующих состояний турникета.
При импульсном режиме управление турникетом с помощью контроллера СКУД аналогично управлению от пульта дистанционного управления.
При потенциальном режиме управления для организации однократных проходов рекомендуется снимать управляющий сигнал низкого уровня по факту прохода через турникет, т.е. по началу сигнала PASS соответствующего направления.
Режимы управления турникетом
Доступны два режима управления турникетом – импульсный и потенциальный. В обоих режимах управление турникетом осуществляется подачей команд (т.е. комбинацией управляющих сигналов) на штатные входы управления: L, ST и R и специальный вход управления FA. В зависимости от выбранного режима меняется алгоритм подачи команд управления. Режим управления определяется установленным в положение ON / OFF переключателем SA1 (SETUP) на плате интерфейса (10). Положение переключателя ON – импульсный режим управления, OFF – потенциальный режим управления.
Импульсный режим управления используется для управления турникетом с помощью пульта дистанционного управления, устройства радиоуправления и контроллера СКУД, выходы которых поддерживают импульсный режим управления. Длительность управляющего сигнала при подаче команды управления на штатные входы управления должна быть не менее 100 мс. Время ожидания прохода равно 8 секундам и не зависит от длительности управляющего сигнала (импульса).
Потенциальный режим управления используется для управления турникетом с помощью контроллера СКУД, выходы которого поддерживают потенциальный режим управления. Длительность управляющего входного сигнала должна составлять не менее 100 мс. Время ожидания прохода равно длительности сигнала низкого уровня: если к моменту совершения прохода в разрешенном направлении на входе для данного направления присутствует сигнал низкого уровня, то турникет в данном направлении останется открытым.
Алгоритм работы механизма турникета
Алгоритм работы турникета при импульсном режиме управления в случае однократного прохода в одном из направлений:
1. Исходное положение турникета – привод выключен, горит индикатор запрета прохода, при попытке поворота преграждающих планок на угол более 5° в любом из направлений стопорное устройство блокирует маховик, включается аварийная сигнализация – проход через турникет закрыт.
2. От устройства управления (пульта дистанционного управления, устройства радиоуправления, СКУД) на турникет через входы платы интерфейса поступает команда (комбинация управляющих сигналов) на совершение однократного прохода в одном из направлений.
3. Микроконтроллер, установленный на плате управления (9), обрабатывает поступившие сигналы и формирует команду на механизм турникета для прохода через турникет в нужном направлении (стопор открывается).
4. Микроконтроллер следит за состоянием датчика поворота маховика преграждающих планок, и отсчитывает время, прошедшее с момента нажатия на пульте дистанционного управления кнопки, соответствующей разрешению прохода в нужном направлении.
5. При повороте пользователем преграждающих планок на 10° в санкционированном направлении микроконтроллер дает команду приводу на плавное вращение маховика с планками в направлении прохода до следующего исходного положения, тем самым обеспечивая комфортный проход в заданном направлении. При повороте на угол 60° формируется сигнал PASS А(В) (происходит размыкание контактов PASS А(В) и Common) длительностью 250 мс.
6. После поворота преграждающих планок на 60° возможность вращения в обратную сторону блокируется электроприводом и стопором возможно осуществлять движение только вперёд до следующего исходного положения.
7. При отказе от прохода, т.е. если по истечении 8 секунд с момента разрешения прохода не был осуществлен поворот планок на угол больше 60°, микроконтроллер формирует команду механизму управления на блокирование дальнейшего прохода в данном направлении, при этом привод будет возвращать планки обратно в исходное положение.
8. При достижении преграждающих планок исходного положения (поворот преграждающих планок на 120° или при отказе от прохода на 0°) микроконтроллер переходит в режим ожидания следующей команды.
В режимах работы «Свободный проход…» алгоритм остается аналогичным, только по окончании прохода турникет не блокируется, а ожидает начала нового прохода.
Нештатные ситуации в работе турникета и реакция на них
Турникет позволяет получить информацию о возникновении следующих нештатных ситуаций при его работе:
1. Несанкционированный проход.
2. Задержка в момент прохода длительностью более 10 с.
3. Выход из строя датчика поворота преграждающих планок.
4. Срабатывание датчика контроля зоны прохода).
5. Пропадание питания (понижение ниже допустимого уровня).
В случаях, указанных в п.п. 1 - 4, происходит формирование специального сигнала Alarm путем замыкания контактов A1 и A2 разъёма Х1. Параметры сигналов релейного выхода «Alarm» указаны в руководстве.
При устранении причины, вызвавшей сигнал Alarm, контакты реле «Alarm» размыкаются, сигнал снимается.
К выходу реле «Alarm» может быть подключена сигнальная лампа (зуммер) в кабине водителя, сигнализирующая о нештатной работе турникета.
Во время работы микропроцессор контролирует напряжение питания, подаваемое на турникет, при этом при понижении напряжения (менее 21,8 В) контакты реле «Battery» (LV1 и LV2 клеммной колодки X6 платы интерфейса (10)) будут замкнуты между собой, сигнализируя о пониженном напряжении питания (разряде аккумулятора). При последующем повышении напряжения до 23,6 В контакты реле «Battery» LV1 и LV2 будут разомкнуты, сигнализируя таким образом о наличии номинального напряжения питания (заряда аккумулятора). Параметры сигналов релейного выхода «Battery» указаны в руководстве.
Если в процессе работы произошло падение напряжения ниже порогового значения отключения электроники (17 В), то электроника турникета автоматически отключится от источника питания. При восстановлении напряжения выше порогового значения включения электроники (18 В) произойдёт автоматическое включение электроники турникета.
Монтаж турникета
Монтаж турникета является ответственной операцией, от которой в значительной степени зависит работоспособность и срок службы изделия. Монтаж должен выполняться силами не менее двух человек, имеющих квалификации монтажника и электрика не ниже 3-го разряда. До начала монтажных работ рекомендуется внимательно изучить данный раздел и в дальнейшем следовать изложенным в нем инструкциям.
Рекомендации по подготовке установочной поверхности:
Монтаж турникета можно производить к стойкам (вертикальным трубам) транспортного средства с помощью специального монтажного кронштейна PERCo-MT10.1 или на прочную вертикальную стену с помощью монтажного кронштейна PERCo-MT10.2.
При установке турникета на кронштейны необходимо учитывать высоту его установки. Рекомендуемая высота установки турникета должна составлять примерно 900-950 мм от пола до верхнего края преграждающей планки.
Рекомендации по организации зоны прохода:
Турникет снабжен механизмом доворота преграждающих планок. При повороте планок на угол более 5° происходит доворот преграждающей планки в направлении прохода (при повороте на угол свыше 60° возврат планок в исходное положение невозможен, т.к. происходит блокировка обратного прохода). При повороте преграждающих планок на угол менее 60° по прошествии 8 сек происходит возврат планок в исходное положение.
Также при работе турникета под управлением контроллера СКУД регистрация события прохода осуществляется при повороте преграждающих планок на угол более 60°.
Для обеспечения требуемого угла поворота при установке турникета следуйте рекомендациям, приведенным на рисунке.
При организации зоны прохода желательно предусмотреть дополнительный аварийный выход. Таким выходом может служить, например, поворотная секция ограждения PERCo-BH02 «Антипаника».

При организации точки прохода на проходной также необходимо предусмотреть дополнительный аварийный выход. Таким выходом может служить, например, поворотная секция ограждения PERCo-BH02 «Антипаника».
Порядок монтажа
Расположение клеммных колодок, схема подключения, рекомендации по подготовке установочной поверхности и организации зоны прохода приведены в руководстве пользователя.
При монтаже турникета придерживайтесь следующей последовательности действий:
1. Распакуйте турникет и проверьте комплектность.
2. Произведите монтаж источника питания турникета на отведенное для него место в соответствии с его эксплуатационной документацией.
3. Произведите прокладку всех кабелей в кабельных каналах к месту установки турникета.
4. Для кронштейна PERCo-MT10.1 (исполнение турникета PERCo-TTR-10AT):
На вертикальных стойках (трубах, поручнях) выполните разметку и разделку отверстий под болты крепления и под ввод кабелей в одну из стоек. Разметку также можно производить непосредственно по кронштейну турникета. При разметке и установке контролируйте горизонтальность положения с помощью уровня. Протяните кабели через стойку и через соответствующее отверстие в кронштейне. Четырьмя винтами М4×6 с конической головкой прикрутите заднюю стенку кронштейна к основанию. Закрепите кронштейн на стойках с помощью двух накладок и винтов М6×40 с цилиндрической головкой.
Для кронштейна PERCo-MT10.2 (исполнение турникета PERCo-TTR-10AK): В соответствии со схемой, приведенной на рисунке, произведите разметку и разделку отверстий в стене под анкеры для крепления турникета и кабельного канала к зоне ввода кабелей. Разметку также можно производить непосредственно по кронштейну турникета. При разметке и установке контролируйте горизонтальность положения кронштейна с помощью уровня.
Для крепления кронштейна на стене необходимо использовать не менее четырех анкеров. В кронштейне предусмотрены 8 отверстий для анкеров с болтами М8 и четыре отверстия для анкеров с болтами М12.

Примечание: Не рекомендуется монтировать турникет без использования штатного кронштейна. В этом случае планки турникета при вращении будут цепляться за установочную поверхность или упираться в нее.
Внимание! При разметке необходимо правильно определить высоту установки турникета. Рекомендуемая производителем высота от пола до верхнего края преграждающей планки должна составлять 900-950 мм.
5. Снимите крышку турникета (1):
- Отверните ключом SW3 четыре винта крепления крышки (7). Винты расположены на нижней поверхности корпуса турникета, со стороны маховика.
- Поднимите крышку за боковые грани вверх до половины ее высоты.
- Отсоедините кабель индикации (8), соединяющий блок индикации крышки (2) с платой интерфейса (10).
- Аккуратно снимите крышку и положите на ровную устойчивую поверхность.
6. Введите кабели в соответствующее отверстие в корпусе турникета, установите корпус турникета на шпильки кронштейна и закрепите его гайками М8 с помощью гаечного ключа S13. Внимание! Установку и крепление турникета производите после прокладки всех кабелей в кабельном канале. При этом до закрепления турникета будьте особенно внимательны и аккуратны, предохраняйте турникет от падения.
7. Подключите кабель питания от источника питания турникета к клеммной колодке X1 платы управления (9). Подключите провод заземления к точке заземления (13). Для удобства подключения открутите на несколько оборотов два винта фиксации по бокам платы интерфейса и отодвиньте ее на себя до упора.
8. Подключите кабель пульта дистанционного управления (устройства радиоуправления или контроллера СКУД) к клеммной колодке X2 платы интерфейса.
9. Произведите при необходимости монтаж и подключение дополнительного оборудования: датчика контроля зоны прохода и сирены; устройства Fire Alarm; выносных индикаторов и др..
10. Проверьте правильность и надежность всех электрических соединений в соответствии со схемой. Задвиньте плату интерфейса на место и закрутите винты фиксации. Аккуратно уложите и закрепите все подключенные кабели на горизонтальной полке с отверстиями стяжками из комплекта поставки.
11. Если необходимо перевести турникет в потенциальный режим управления, то установите переключатель №1 SA1 (SETUP) платы интерфейса в положение OFF.
12. Если турникет устанавливается в транспортном средстве, то установите усилие поворота планок в значение «жесткое» – переведите переключатель №2 SA1 (SETUP) платы интерфейса в положение ON.
Примечание: «Жесткое» усилие поворота преграждающих планок применяется при установке турникета в транспорте с целью компенсации возможной тряски и вибрации планок турникета при движении транспортного средства и, как следствие, беспричинного срабатывания аварийной сигнализации. Также этот режим стоит применять в случае установки турникета на улице в северных районах для компенсации густеющей смазки при низких температурах. Во всех остальных случаях рекомендуется использовать значение усилия поворота планок «мягкое» для более комфортного прохода через турникет.
13. Установите крышку (1) с блоком индикации:
- Вставьте нижнюю часть зацепов крышки турникета в пазы корпуса (6) и опустите на половину высоты.
- Подключите кабель индикации (8) к блоку индикации крышки турникета и к разъему Х8 (INDICATION) платы интерфейса и опустите крышку до упора. При опускании крышки проследите, чтобы кабель индикации (8) складывался вперед и не защемлялся элементами конструкции. Правильная установка крышки не требует применения больших физических усилий.
- Зафиксируйте крышку четырьмя винтами (7) в нижней части корпуса. 14. Установите маховик (4) с преграждающими планками (3) в следующем порядке:
- Вставьте маховик в соответствующее посадочное место на валу механизма турникета.
- Зафиксируйте маховик тремя болтами с пружинными шайбами (5); предварительно для надежной фиксации болтов нанесите на нижнюю часть их резьбы немного герметика из комплекта поставки. Затяжка болтов должна обеспечивать надежную фиксацию маховика относительно вала механизма турникета (без люфта и перекосов).
Внимание! Для правильной установки маховика перед окончательной затяжкой болтов необходимо перевести преграждающую планку в горизонтальное положение и с помощью угольника выставить угол в 90° в горизонтальной плоскости между планкой и корпусом турникета. После завершения монтажа произведите включение и проверку работоспособности турникета.
Эксплуатация турникета
При эксплуатации турникета соблюдайте меры безопасности.
Запрещается:
• Перемещать через зону прохода предметы, превышающие ширину проема прохода.
• Производить рывки и удары по составным частям турникета.
• Разбирать и регулировать узлы, обеспечивающие работу турникета.
• Использовать при чистке турникета вещества, способные вызвать механические повреждения поверхностей и коррозию деталей.
Включение турникета
При включении турникета придерживайтесь следующей последовательности действий:
1. Подключите сетевой кабель источника питания турникета к сети с напряжением и частотой, указанными в паспорте на этот источник питания.
2. Включите источник питания турникета. При установленном импульсном режиме управления автоматически будет подана команда «Запрет прохода», при потенциальном режиме управления «Оба направления закрыты». На крышке появится индикация запрета прохода (красный крест). На пульте дистанционного управления загорится индикатор, расположенный над кнопкой STOP.
3. Переведите планку преграждающую (3) в рабочее положение, подняв ее вверх до упора. В этом положении планка автоматически зафиксируется.
4. Проверьте работу датчика контроля зоны прохода и сирены при наличии их в комплекте поставки и соответствующем монтаже. Для этого дождитесь момента, когда погаснет тестовый индикатор внутри датчика контроля зоны прохода (10-50 с после включения питания турникета). После чего поднесите руку к датчику контроля зоны прохода. При срабатывании датчика контроля зоны прохода зазвучит непрерывный звуковой сигнал сирены. Отключение сигнала произойдет через 5 с, либо при нажатии любой кнопки на пульте дистанционного управления.
Турникет готов к работе.
Действия в экстремальных ситуациях
В аварийных и нештатных ситуациях (например, при выходе из строя ИП) зону прохода турникета можно использовать в качестве дополнительного аварийного выхода.
Предусмотрена возможность перевода турникета в режим Fire Alarm от устройства аварийного открытия прохода (прибора пожарной сигнализации, аварийной кнопки и т.д.). В этом режиме преграждающая планка турникета, перекрывающая зону прохода, опускается вниз (принимает вертикальное положение) и освобождает проход в обоих направлениях, на блоке индикации поочередно загораются зеленый (на 1,25 сек) и красный (на 0,25 сек) индикаторы, команды управления от других устройств и ПО игнорируются. Также открытие зоны прохода турникета выполняется автоматически при снятии (пропадании) напряжения питания турникета.
Внимание! Для экстренной эвакуации людей с территории предприятия в случае пожара, стихийных бедствий и других аварийных ситуаций используются соответствующие требованиям безопасности эвакуационные выходы. Таким выходом может служить, например, поворотная секция ограждения PERCo-BH02 «Антипаника».
Бренд турникета | PERCo |
Вид турникета | Турникет |
Тип турникета | Трипод |
Тип корпуса турникета | Однопроходной, Напольный |
Тип привода турникета | Электромоторный |
Исполнение турникета | Уличное (под навесом) |
Материал корпуса турникета | Нержавеющая сталь |
Преграждающие планки/створки | Антипаника, в комплекте |
Антипаника | Автоматическая |
Тип блокировки | Нормально закрытый (НЗ) |
Встроенный картоприемник | Нет |
Встроенные считыватели | Без считывателей |
Пропускная способность | 60 чел/мин |
Пульт управления | 1 шт. в комплекте |
Напряжение питания | 24 В |
Источник питания | В комплект НЕ ВХОДИТ! (приобретается отдельно) |
Потребляемая мощность, макс. | 150 Вт |
Потребляемый ток, макс. | 5.5 А |
Габариты | 800х760х1055 мм |
Ширина перекрываемого прохода | 762 мм |
Ширина прохода | 500 мм |
Вес, кг | 55 |
Рабочая температура | от -40°C до +55°C |
Рабочая влажность | не выше 80% без конденсации |
Класс защиты (IP) | IP54 |
Класс защиты (IK) | IK09 |
Класс изоляции | III |
Цвет | Металл |
Наработка на отказ, не менее | 4 млн. циклов |
Средний срок службы | Не менее 8 лет |
Сертификаты | Транспортной безопасности |
Гарантия | 5 лет |
Страна производства | Россия |
Функция «Быстрый заказ» позволяет покупателю не проходить всю процедуру оформления заказа самостоятельно. Вы заполняете форму, и через короткое время вам перезвонит менеджер магазина. Он уточнит все условия заказа, ответит на вопросы, касающиеся качества товара, его особенностей. А также подскажет о вариантах оплаты и доставки.
По результатам звонка, пользователь либо, получив уточнения, самостоятельно оформляет заказ, укомплектовав его необходимыми позициями, либо соглашается на оформление в том виде, в котором есть сейчас. Получает подтверждение на почту или на мобильный телефон и ждёт доставки.
Оформление заказа в стандартном режиме
Если вы уверены в выборе, то можете самостоятельно оформить заказ, заполнив по этапам всю форму.
Заполнение адреса
Выберите из списка название вашего региона и населённого пункта. Если вы не нашли свой населённый пункт в списке, выберите значение «Другое местоположение» и впишите название своего населённого пункта в графу «Город». Введите правильный индекс.
Доставка
В зависимости от места жительства вам предложат варианты доставки. Выберите любой удобный способ. Подробнее об условиях доставки читайте в разделе «Доставка».
Оплата
Выберите оптимальный способ оплаты. Подробнее о всех вариантах читайте в разделе «Оплата»
Покупатель
Введите данные о себе: ФИО, адрес доставки, номер телефона. В поле «Комментарии к заказу» введите сведения, которые могут пригодиться курьеру, например: подъезды в доме считаются справа налево.
Оформление заказа
Проверьте правильность ввода информации: позиции заказа, выбор местоположения, данные о покупателе. Нажмите кнопку «Оформить заказ».
Наш сервис запоминает данные о пользователе, информацию о заказе и в следующий раз предложит вам повторить к вводу данные предыдущего заказа. Если условия вам не подходят, выбирайте другие варианты.
Если Вы хотите узнать об условиях доставки и оплаты, но не желаете о них читать, то Вы можете позвонить любому нашему сотруднику, и он обязательно Вам поможет.
Покупка за безналичный расчет
При оплате за безналичный расчет наш сотрудник свяжется с Вами, чтобы подтвердить заказ и уточнить сроки и адрес доставки. После оформления заказа сотрудник нашей компании вышлет вам счет, по которому необходимо будет произвести оплату.
После оплаты заказа к Вам приедет наш курьер, который доставит ваш заказ.
Самостоятельно забрать заказ из пунктов самовывоза Вы можете после его оплаты по безналичному расчету. Оплата доставки до пунктов выдачи транспортных компаний производится по тарифам выбранной Вами транспортной компании непосредственно в месте получения заказа.
Самовывоз из офиса нашей компании в Зеленограде, так же возможен после предоплаты по безналичному расчету, и предварительной договоренности с менеджером.
Интернет-магазин выполняет доставку любого товара своей собственной Службой доставки.
Стоимость доставки курьером
Стоимость доставки по Москве, Все товары —750 руб., бесплатная доставка от 25000 руб
Стоимость доставки по Московской области рассчитывается для каждого заказа индивидуально и зависит от суммарного веса товаров заказа и удаленности адреса доставки.
Время доставки
Время доставки согласовывается с менеджером Службы доставки, который обязательно свяжется с вами сразу после того, как вы разместите свой заказ.
Для осуществления доставки в регионы России мы пользуемся услугами компаний СДЭК, ЖелДорЭкспедиция, Автотрейдинг, Деловые Линии. В таком случае, указанными кампаниями взимается стоимость доставки по их внутренним тарифам с заказчика при получении товара.
Самовывоз
Забрать товар самостоятельно и абсолютно бесплатно можно только по адресу: Москва, Зеленоград, Панфиловский проспект, дом 10.
Забрать товар самовывозом можно по любому из адресов самовывоза указанных здесь, стоимость доставки до пункта самовывоза рассчитывается для каждого заказа по тарифам транспортных компаний.













