Практичность и функциональность
Twister — это универсальный и надежный турникет-трипод, предназначенный для управления доступом и регулирования потоков посетителей в местах с высокой посещаемостью.
Прочная конструкция, легкость установки
• Наружная конструкция, стержни-барьеры и боковые кожухи корпуса из нержавеющей стали AISI 304 с отделкой “scotch brite”.
Возможность демонтажа боковых кожухов для выполнения электрических подключений и ускорения и упрощения работ по монтажу и техническому обслуживанию.
• Двусторонний указатель направления движения со светодиодами повышенной светоотдачи с дисплеем.
Функции управления и совместное использование
• Команды "ВХОД" и "ВЫХОД" разрешают проход через турникет. Турникет блокируется автоматически после прохождения через него человека или спустя предварительно заданное время, если прохождение через турникет не состоялось.
• Команда "БЛОКИРОВАТЬ" препятствует проходу через турникет, отменяя команды "ВХОД" и "ВЫХОД".
• Команда "АВАРИЙНЫЙ ПРОХОД" позволяет выходить через турникет-трипод даже при активированной команде "БЛОКИРОВАТЬ".
• Совместимость с системами контроля доступа: Twister совместим с системами Came RBM21 и RBM84, что позволяет создавать комплексные решения для управления проходом.
• В случае аварийного отключения электроэнергии турникет разблокируется в обоих направлениях, открывая проход.
Характеристики:
• Класс защиты: IP44
• Напряжение электропитания (В, 50/60 Гц): ~120 - 230
• Напряжение электропитания оборудования тумбы (В): =24
• Потребляемый ток (мА): 260
• Масса (кг): 60
• Диапазон рабочих температур (°C): -20 ÷ +55
Габаритные размеры

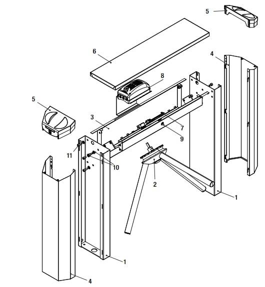
Описание компонентов:
1. Стойки
2. Трипод
3. Корпус из листовой стали
4. Кожух
5. Крышка кожуха
6. Верхняя крышка
7. Механизм
8. Блок управления
9. Замок крышки
10. Винты с шайбами для крепления стоек к корпусу
11. Винт для крепления кожуха к стойке

Бренд турникета | Came |
Вид турникета | Турникет |
Тип турникета | Трипод |
Тип корпуса турникета | Однопроходной, Тумбовый, Напольный |
Тип привода турникета | Электромеханический |
Исполнение турникета | Уличное (под навесом) |
Материал корпуса турникета | Нержавеющая сталь |
Преграждающие планки/створки | Стандартные, в комплекте |
Тип блокировки | Нормально закрытый (НЗ) |
Встроенный картоприемник | Нет |
Встроенные считыватели | Без считывателей |
Пропускная способность | 12 чел/мин |
Пульт управления | Приобретается отдельно |
Напряжение питания | 230 В |
Потребляемый ток, макс. | 500 мА |
Габариты | 1200х950х750 мм |
Габариты без штанг | 1200х950х250 мм |
Ширина перекрываемого прохода | 750 мм |
Ширина прохода | 500 мм |
Высота прохода | 850 мм |
Вес, кг | 60 |
Рабочая температура | от -20°C до +55°C |
Класс защиты (IP) | IP44 |
Класс изоляции | II |
Гарантия | 3 года |
Страна производства | Италия |
Функция «Быстрый заказ» позволяет покупателю не проходить всю процедуру оформления заказа самостоятельно. Вы заполняете форму, и через короткое время вам перезвонит менеджер магазина. Он уточнит все условия заказа, ответит на вопросы, касающиеся качества товара, его особенностей. А также подскажет о вариантах оплаты и доставки.
По результатам звонка, пользователь либо, получив уточнения, самостоятельно оформляет заказ, укомплектовав его необходимыми позициями, либо соглашается на оформление в том виде, в котором есть сейчас. Получает подтверждение на почту или на мобильный телефон и ждёт доставки.
Оформление заказа в стандартном режиме
Если вы уверены в выборе, то можете самостоятельно оформить заказ, заполнив по этапам всю форму.
Заполнение адреса
Выберите из списка название вашего региона и населённого пункта. Если вы не нашли свой населённый пункт в списке, выберите значение «Другое местоположение» и впишите название своего населённого пункта в графу «Город». Введите правильный индекс.
Доставка
В зависимости от места жительства вам предложат варианты доставки. Выберите любой удобный способ. Подробнее об условиях доставки читайте в разделе «Доставка».
Оплата
Выберите оптимальный способ оплаты. Подробнее о всех вариантах читайте в разделе «Оплата»
Покупатель
Введите данные о себе: ФИО, адрес доставки, номер телефона. В поле «Комментарии к заказу» введите сведения, которые могут пригодиться курьеру, например: подъезды в доме считаются справа налево.
Оформление заказа
Проверьте правильность ввода информации: позиции заказа, выбор местоположения, данные о покупателе. Нажмите кнопку «Оформить заказ».
Наш сервис запоминает данные о пользователе, информацию о заказе и в следующий раз предложит вам повторить к вводу данные предыдущего заказа. Если условия вам не подходят, выбирайте другие варианты.
Если Вы хотите узнать об условиях доставки и оплаты, но не желаете о них читать, то Вы можете позвонить любому нашему сотруднику, и он обязательно Вам поможет.
Покупка за безналичный расчет
При оплате за безналичный расчет наш сотрудник свяжется с Вами, чтобы подтвердить заказ и уточнить сроки и адрес доставки. После оформления заказа сотрудник нашей компании вышлет вам счет, по которому необходимо будет произвести оплату.
После оплаты заказа к Вам приедет наш курьер, который доставит ваш заказ.
Самостоятельно забрать заказ из пунктов самовывоза Вы можете после его оплаты по безналичному расчету. Оплата доставки до пунктов выдачи транспортных компаний производится по тарифам выбранной Вами транспортной компании непосредственно в месте получения заказа.
Самовывоз из офиса нашей компании в Зеленограде, так же возможен после предоплаты по безналичному расчету, и предварительной договоренности с менеджером.
Интернет-магазин выполняет доставку любого товара своей собственной Службой доставки.
Стоимость доставки курьером
Стоимость доставки по Москве, Все товары —750 руб., бесплатная доставка от 25000 руб
Стоимость доставки по Московской области рассчитывается для каждого заказа индивидуально и зависит от суммарного веса товаров заказа и удаленности адреса доставки.
Время доставки
Время доставки согласовывается с менеджером Службы доставки, который обязательно свяжется с вами сразу после того, как вы разместите свой заказ.
Для осуществления доставки в регионы России мы пользуемся услугами компаний СДЭК, ЖелДорЭкспедиция, Автотрейдинг, Деловые Линии. В таком случае, указанными кампаниями взимается стоимость доставки по их внутренним тарифам с заказчика при получении товара.
Самовывоз
Забрать товар самостоятельно и абсолютно бесплатно можно только по адресу: Москва, Зеленоград, Панфиловский проспект, дом 10.
Забрать товар самовывозом можно по любому из адресов самовывоза указанных здесь, стоимость доставки до пункта самовывоза рассчитывается для каждого заказа по тарифам транспортных компаний.


