Турникет-трипод T-5 – нормально закрытый электромеханический турникет, предназначен для работы внутри помещения. В комплект поставки турникета входит пульт дистанционного управления. Ориентация кнопок пульта относительно направле- ний прохода задается при подключении пульта к турникету. Рекомендуется устанавливать по одному турникету на каждые 500 человек, работающих в одну смену, или из расчета пиковой нагрузки 30 человек в минуту. Турникеты могут комплектоваться ограждениями.
Комплект поставки:
• Турникет со встроенной электроникой управления: 1 шт.
• Преграждающие планки Антипаника PERCo-AA-04 - нержавеющая сталь: 3 шт.
• Пульт дистанционного управления (длина кабеля 6.6 м): 1 шт.
• Ключ замка механической разблокировки: 1 шт.
• Монтажный комплект: 1 шт.
• Паспорт и руководство по эксплуатации: 1 экз.
В комплект не входит и приобретается отдельно:
• источник питания LRS-100-12
• Устройство радиоуправления (состоит из приемника и двух передатчиков в виде брело- ков, с дальностью действия до 40 м)
• Датчик контроля зоны прохода (устанавливается под заказ производителем)
• Сирена (для сигнализации о факте попытки несанкционированного прохода)
• Анкер PFG IR 10-15
Конструкция корпуса, планшайбы с узлом крепления преграждающих планок, примененные индикаторы режима работы позволили снизить себестоимость и установить привлекательную для покупателей цену.
Механизм и электроника турникета PERCo-T-5 аналогичны турникету-триподу PERCo-TTR-04.1, поэтому надежность и ресурс работы PERCo-T-5 отвечают высоким стандартам, принятым в PERCo.
Управление турникетом возможно как от системы контроля доступа, так и автономно от пульта управления. Использование на проходных предприятий турникетов, работающий под управлением системы контроля доступа, позволяет организовать корректный учет рабочего времени.
Данная модель турникета оснащена преграждающими планками
• Антипаника PERCo-AA-04 - нержавеющая сталь
Так же имеются модели с планками
• PERCo-AS-05 - окрашенная сталь, цвет черный муар
• стандартные PERCo-AS-04 - нержавеющая сталь
При необходимости турникеты могут комплектоваться ограждениями.
Турникет по устойчивости к воздействию климатических факторов соответствует условиям УХЛ 4 по ГОСТ 15150-69 (для эксплуатации в помещениях с искусственно регулируемыми климатическими условиями). Эксплуатация турникета разрешается при температуре окружающего воздуха от +1 до +40° С и относительной влажности воздуха до 80% при +25° С (без конденсации).
Турникет T-5 выпускается серийно и имеет сертификат соответствия требованиям технического регламента Таможенного союза (EAC).
Видеообзор турникета-трипода PERCo-T-5
Основные технические характеристики:
• Напряжение питания: 12±1,8 В постоянного тока
• Потребляемый ток, не более: 700 мА
• Потребляемая мощность, не более: 8,5 Вт
• Габаритные размеры с установленными преграждающими планками (ДхШхВ):
- С планками PERCo-AS-05: 744x 744x1025 мм
- С планками PERCo-AS-04, PERCo-AA-04: 861x833 x1025 мм
• Ширина зоны прохода:
- С планками PERCo-AS-05 500 мм
- С планками PERCo-AS-04, PERCo-AA-04 600 мм
• Масса турникета, не более: 35 кг
• Габариты упаковки (ДхШхВ): 114х32х32 см
• Пропускная способность:
- В режиме однократного прохода 30 чел/мин
- В режиме свободного прохода: 60 чел/мин
• Средняя наработка на отказ, не менее: 1500000 проходов
• Материал корпуса – сталь, покрытая порошковой краской. Цвет бежевый, шагрень.

Основные особенности
• Турникет может работать как автономно, от пульта дистанционного управления или устройства радиоуправления, так и под управлением СКУД.
• На турникет подается безопасное для человека напряжение питания – не более 14 В.
• Турникет имеет низкое энергопотребление – не более 8,5 Вт.
• При выключении питания турникета оба направления прохода остаются в том состоянии, в котором они были на момент выключения питания – в закрытом, если данное направление было закрыто на момент выключения, или в открытом, если данное направление было открыто на момент выключения.
• Механизм привода турникета обеспечивает автоматический доворот преграждающих планок до исходного положения после каждого прохода.
• Демпфирующее устройство обеспечивает плавную бесшумную работу турникета.
• В турникете установлены оптические датчики поворота преграждающих планок, позволяющие корректно фиксировать факт прохода и направление прохода.
• В турникет встроен замок механической разблокировки, позволяющий, в случае необходимости, с помощью ключа разблокировать его (обеспечить свободное вращение преграждающих планок).
• Предусмотрена возможность подключения к турникету датчика контроля зоны прохода и сирены.
• В турникете предусмотрено два режима управления – импульсный и потенциальный.
• Турникет имеет гальваническую развязку выходов.
• Турникет имеет вход для подключения устройства, подающего команду аварийной разблокировки (например, от пожарной сигнализации).
Устройство турникета
Турникет состоит из стойки турникета, комплекта преграждающих планок (2) и дополнительного оборудования, не входящего в основной комплект поставки.
Стойка турникета (1) выполнена в виде сварной металлической конструкции и крышки (4). Внутри стойки турникета расположены плата CLB (Control Logic Board) (далее – плата) и механизм доворота, состоящий из: устройства доворота (толкатель, пружины и ролик), механизма управления с оптическими датчиками поворота преграждающих планок и блокирующим устройством (шпонкой), а также замка механической разблокировки (11). Кроме того, на механизме доворота установлен поворотный механизм (13), в состав которого входят: демпфирующее устройство, кольцо контрольное и планшайба (12), в которую устанавливаются три преграждающие планки (2).
На боковых панелях расположены информационные световые индикаторы (3). Индикаторы предназначены для указания направления разрешенного прохода (зеленые индикаторы в виде стрелок) или запрета прохода (красные индикаторы). Источник питания турникета (7) и внешнее оборудование подключаются к плате CLB кабелями в соответствии со схемой электрических соединений.

Устройства для управления турникетом
Управление турникетом может осуществляться с помощью пульта дистанционного управления, устройства радиоуправления или контроллера СКУД3 .
Указанные устройства могут быть подключены к турникету:
• одно из устройств в отдельности;
• в любой комбинации друг с другом;
• все вместе (параллельно).
Примечание: При параллельном подключении указанных устройств к турникету возможны случаи наложения сигналов управления от них друг на друга. В этом случае реакция турникета будет соответствовать реакции на образовавшуюся комбинацию входных сигналов.
Подключение указанных устройств производится с помощью кабеля к соответствующим клеммным колодкам XT1.L и XT1.H платы в соответствии со схемой электрических соединений. Пульта дистанционного управления выполнен в виде небольшого настольного прибора в корпусе из ударопрочного АБС-пластика и предназначен для задания и индикации режимов работы при ручном управлении турникетом.

На лицевой панели корпуса пульта дистанционного управления расположены три кнопки для задания режимов работы турникета. Над кнопками расположены индикаторы. Средняя кнопка (далее по тексту – кнопка STOP) предназначена для переключения турникета в режим «Запрет прохода». Левая и правая кнопки предназначены для разблокировки турникета в выбранном направлении.
Пульт дистанционного управления подключается к контактам GND, Unlock A, Stop, Unlock B, Led A, Led Stop и Led B клеммной колодки XT1.L
Изменить ориентацию пульта дистанционного управления относительно установки турникета (если по месту установки турникет обращен к оператору не лицевой, а тыльной стороной) можно, поменяв местами провода от пульта дистанционного управления, подключаемые на контакты Unlock A и Unlock B, а также Led A и Led B соответственно.
Приемник устройства радиоуправления подключается к контактам GND, Unlock A, Stop и Unlock B клеммной колодки XT1.L. Питание приемника устройства радиоуправления подключается к контакту +12V клеммной колодки XT1.H. Выходы контроллера СКУД подключаются к контактам GND, Unlock A, Stop и Unlock B клеммной колодки XT1.L.
Входы контроллера СКУД подключаются к контактам Common, PASS A, PASS B, Ready и Det Out клеммной колодки XT1.H.
Режимы управления турникетом
Возможны два режима управления турникетом – импульсный и потенциальный. Данные режимы управления определяют возможные режимы работы турникета.
Режим управления определяется наличием джампера на разъеме J1 (расположение разъема J1 показано на рис. 2: джампер установлен – импульсный режим управления, джампер снят – потенциальный режим управления). При поставке джампер установлен.
В обоих указанных режимах управление турникетом происходит подачей управляющего сигнала на турникет. При этом в импульсном режиме управления время ожидания прохода равно 5 секундам и не зависит от длительности управляющего сигнала (импульса). В потенциальном режиме управления время ожидания прохода равно длительности управляющего сигнала.
Импульсный режим управления используется для управления турникетом с помощью пульта дистанционного управления, устройства радиоуправления и контроллера СКУД, выходы которых поддерживают импульсный режим управления.
• Штатные входы управления: Unlock A, Stop и Unlock B.
• Специальный вход управления: Fire Alarm.
Минимальная длительность входного сигнала, при которой возможно изменение режима работы турникета, должна быть 100 мс. Время ожидания прохода равно 5 секундам и не зависит от длительности входного сигнала.
Потенциальный режим управления используется для управления турникетом с помощью контроллера СКУД, выходы которого поддерживают потенциальный режим управления (например, замковый контроллер).
• Штатные входы управления: Unlock A и Unlock B.
• Специальные входы управления: Stop и Fire Alarm.
Минимальная длительность входного сигнала, при которой возможно изменение режима работы турникета, должна быть 100 мс. Время ожидания прохода равно длительности сигнала низкого уровня (если к моменту совершения прохода в разрешенном направлении на входе для данного направления присутствует сигнал низкого уровня, то турникет в данном направлении останется открытым).
При поступлении сигнала низкого уровня на вход Stop оба направления закрываются на все время его присутствия независимо от уровней сигналов на входах Unlock A и Unlock B. При снятии сигнала низкого уровня с входа Stop направления переходят в режим согласно уровням сигналов на входах Unlock A и Unlock B.
Управление турникетом с помощью пульта дистанционного управления
При нажатии кнопок на пульте дистанционного управления (кнопка STOP и две кнопки, соответствующие направлениям прохода) происходит замыкание соответствующего контакта Unlock A, Stop и Unlock B с контактом GND (т.е. формирование сигнала низкого уровня относительно контакта GND).
Логика работы турникета при однократном проходе в направлении А(В) при импульсном режиме управления:
• При нажатии на пульте кнопки, соответствующей разрешению прохода в направлении А(В), происходит замыкание контакта Unlock A(В) с контактом GND (т.е. формирование сигнала низкого уровня на контакте Unlock A(В) относительно контакта GND).
• Микроконтроллер, установленный на плате, обрабатывает поступившую команду и формирует команду на механизм управления, который открывает проход в направлении А(В) (поднимает верхний (нижний) край шпонки).
• Микроконтроллер следит за состоянием оптических датчиков поворота преграждающих планок, которые при повороте преграждающих планок активизируются/нормализуются в определенной последовательности, и отсчитывает время, прошедшее с момента нажатия на пульте кнопки соответствующей разрешению прохода в направлении А(В).
• При повороте преграждающих планок на 67° микроконтроллер формирует сигнал PASS А(В) (происходит размыкание контактов PASS А(В) и Common). • После поворота преграждающих планок на 67°, либо по истечении 5 секунд с момента нажатия на пульте кнопки, соответствующей разрешению прохода в направлении А(В), микроконтроллер формирует команду на механизм управления, который закрывает проход в направлении А(В) (опускает верхний (нижний) край шпонки).
• При возвращении преграждающих планок к исходному положению (поворот преграждающих планок на 112°) микроконтроллер снимает сигнал PASS А(В) (происходит замыкание контактов PASS А(В) и Common).
Отличие для режима «Свободный проход»: в данном режиме команда на закрытие прохода не формируется и проход в данном направлении остается открытым.
Управление турникетом с помощью устройства радиоуправления
Управление турникетом с помощью устройства радиоуправления аналогично управлению от пульта дистанционного управления.
Кнопки на брелоке устройства радиоуправления выполняют те же функции, что и на пульте дистанционного управления. Инструкция по подключению и работе устройства радиоуправления прилагается в комплекте с этим устройством.
Управление турникетом с помощью контроллера СКУД
При импульсном режиме управления управление турникетом с помощью контроллера СКУД аналогично управлению от пульта дистанционного управления.
При потенциальном режиме управления принцип управления турникетом с помощью контроллера СКУД аналогичен принципу управления при помощи пульта дистанционного управления и заключается в формировании на контактах Unlock A, Stop и Unlock B сигнала низкого уровня относительно контакта GND.
Отличие логики работы от описанной в п.5.6 при потенциальном режиме управления: команда на закрытие прохода формируется только по факту отпускания на пульте кнопки, соответствующей разрешению прохода А(В). Поэтому для организации однократных проходов при потенциальном режиме управления рекомендуется снимать управляющий сигнал низкого уровня по началу сигнала PASS соответствующего направления.
Проход через турникет в направлении А(В) фиксируется по состоянию выходных контактов PASS A(В) и Common.
Монтаж
Монтаж турникета является ответственной операцией, от которой в значительной степени зависит работоспособность и срок службы изделия. Монтаж должен выполняться силами не менее двух человек, имеющих квалификации монтажника и электрика не ниже 3-го разряда. До начала монтажных работ рекомендуется внимательно изучить данный раздел и в дальнейшем следовать изложенным в нем инструкциям.
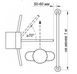
Рекомендации по подготовке установочной поверхности: Стойку турникета необходимо устанавливать на прочные и ровные бетонные (не ниже марки 400), каменные и т.п. основания, имеющие толщину не менее 150 мм. Установочную поверхность необходимо выровнять так, чтобы точки крепления стойки турникета лежали в одной горизонтальной плоскости (контролировать с помощью уровня). При установке стойки турникета на менее прочное основание необходимо применять закладные фундаментные элементы, размером на менее 300×300×300 мм. Также возможно применение рамного основания. Рекомендации по организации зоны прохода: Турникет снабжен механизмом доворота преграждающих планок. При повороте планок на угол более 60° происходит доворот преграждающей планки в направлении прохода (при этом возврат планок в исходное положение невозможен, происходит блокировка обратного прохода). При повороте преграждающих планок на угол менее 60° происходит возврат планок в исходное положение. Также при работе турникета под управлением контроллера СКУД для регистрации события прохода необходимо осуществить поворот преграждающих планок на угол не менее 70°.
Для обеспечения требуемого угла поворота при установке турникета следуйте рекомендациям, приведенным на рисунке.
Порядок монтажа
1. Распакуйте турникет, проверьте комплект поставки.
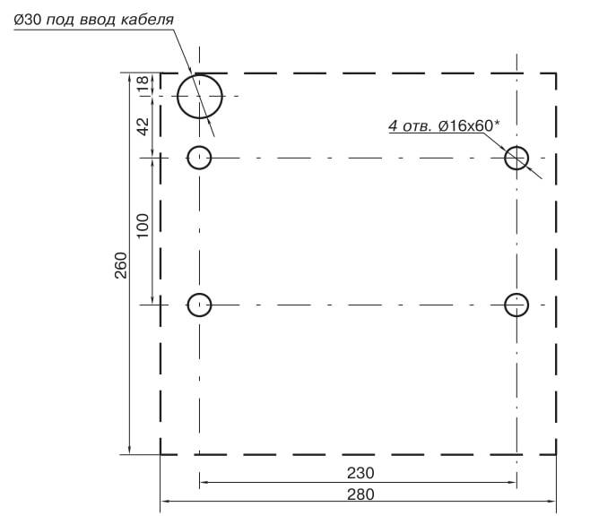
2. Подготовьте в полу отверстия под гильзы анкеров (15) для крепления стойки турникета (см. рис. 9)

3. Вставьте гильзы анкеров в выполненные отверстия так, чтобы они не выступали над поверхностью пола. Установите стойку турникета на гильзы анкеров и закрепите ее болтами М10. Установите заглушки (14).
Примечание: При необходимости прокладки кабелей под поверхностью пола подготовьте в полу кабельный канал, подходящий к отверстиям для ввода этих кабелей в стойку турникета (рис. 9). Установку и крепление стойки турникета производите после прокладки всех кабелей в кабельном канале и внутри стойки турникета.
4. Снимите крышку (4). Для этого отверните четыре винта крепления, находящиеся на крышке спереди и сзади турникета. Положите крышку на ровную устойчивую поверхность.
5. Установите источник питания турникета (7) на отведенное для него место (порядок монтажа источника питания турникета – смотри Паспорт на этот источник питания).
6. Подключите кабель питания (8) от источника питания турникета (7) к клеммной колодке XT3 на плате. Подключите кабель (6) пульт дистанционного управления (5) к клеммной колодке XT1.L на плате. Подключите при необходимости кабели от других устройств к соответствующим клеммным колодкам платы.
7. Проверьте правильность и надежность всех электрических подключений. Кабельными стяжками из комплекта поставки закрепите кабели в двух местах: к специальному отверстию на горизонтальной полке стойки турникета и к специальному отверстию на замке механической разблокировки внутри стойки турникета. Установите в рабочее положение крышку (4) в порядке, обратном снятию.
8. Для установки в рабочее положение преграждающих планок снимите крышку планшайбы (12), отвинтив винт М4. Установите преграждающую планку (2) в соответствующее посадочное место на планшайбе и зафиксируйте ее болтом М8 с пружинной шайбой. Затяжка болтов должна обеспечивать надежную фиксацию преграждающей планки (без люфта). Аналогично установите остальные преграждающие планки.
9. Включите турникет, проверьте его работу во всех режимах (см. разд. 9).
10. Проверьте работу датчика контроля зоны прохода и сирены (если они были установлены). При срабатывании датчика контроля зоны прохода должен включаться непрерывный звуковой сигнал сирены. Выключение этого сигнала осуществляется подачей любой команды управления или автоматически по истечении 5 секунд.
После завершения монтажа и проведения проверок турникет готов к работе.
Формирование зоны прохода
При работе турникета под управлением СКУД считыватели карт рекомендуется размещать на ограждениях, формирующих зону прохода (для крепления считывателей на ограждения серии PERCo-BH02 используется кронштейн PERCo-BH01 0-03).

Эксплуатация турникета
При эксплуатации изделия соблюдайте меры безопасности
Запрещается!
• Перемещать через зону прохода предметы, размер которых превышает ширину проема прохода.
• Производить рывки и удары по составным частям изделия.
• Разбирать и регулировать узлы, обеспечивающие работу изделия.
• Использовать при чистке изделия вещества, способные вызвать механические повреждения поверхностей и коррозию деталей.
Включение турникета
Подключите сетевой кабель (9) источника питания турникета (7) к розетке сети с напряжением и частотой, указанными в Паспорте на этот источник питания. Проверьте, что замок механической разблокировки (11) турникета закрыт (см. разд. 10.2). Включите источник питания турникета (7), на боковых поверхностях турникета загорятся красные световые индикаторы, на пульт дистанционного управления (5) загорится индикатор, расположенный над кнопкой STOP, вращение преграждающих планок турникета будет заблокировано для обоих направлений прохода.
Режимы работы турникета при импульсном режиме управления
Задание режимов работы турникета с пульта дистанционного управления и их индикация осуществляется в соответствии с таблицей. При этом:
• направления прохода независимы друг от друга, т.е. задание режима прохода в одном направлении не изменяет заданный режим прохода в другом направлении;
• режим «Однократный проход в заданном направлении» может быть изменен на режим «Свободный проход» в этом же направлении или режим «Запрет прохода»;
• режим «Свободный проход в заданном направлении» может быть изменен только на режим «Запрет прохода». В режиме однократного прохода турникет автоматически закроется после прохода человека в данном направлении. Если проход не выполнен в течение 5 секунд, турникет также автоматически закроется. При разрешении прохода в двух направлениях, после совершения прохода в одном направлении возобновляется отсчет времени ожидания прохода 5 секунд для другого направления. Примечание: Нажатие кнопки на пульте дистанционного управления соответствует подаче на соответствующие контакты клеммной колодки XT1.L (Unlock A, Unlock B и Stop) сигнала низкого уровня относительно контакта GND.

Режимы работы турникета при потенциальном режиме управления
Задание режимов работы турникета с пульта дистанционного управления и их индикация осуществляется в соответствии с таблицей. При этом направления прохода независимы друг от друга, т.е. задание режима прохода в одном направлении не изменяет заданный режим прохода в другом направлении.

Примечание для выходов СКУД:
Высокий уровень – контакты выходного реле разомкнуты либо выходной транзистор закрыт;
Низкий уровень – контакты выходного реле замкнуты либо выходной транзистор открыт.
Действия в экстремальных ситуациях
В аварийных и нештатных ситуациях (например, при выходе из строя ИП) зону прохода турникета можно использовать в качестве дополнительного аварийного выхода, предварительно разблокировав вращение его преграждающих планок либо используя планки «Антипаника».
Внимание! Для экстренной эвакуации людей с территории предприятия в случае пожара, стихийных бедствий и других аварийных ситуаций используются соответствующие требованиям безопасности эвакуационные выходы. Таким выходом может служить, например, поворотная секция ограждения PERCo-BH02 «Антипаника».
Использование преграждающих планок «Антипаника»
Преграждающие планки «Антипаника» PERCo-AA-04 имеют конструкцию, позволяющую быстро организовать аварийный выход через зону прохода турникета без применения специальных средств или инструментов. Для этого необходимо потянуть планку, перекрывающую зону прохода, в осевом направлении от стойки до упора, и затем сложить ее, опустив вниз.
Механическая разблокировка турникета
Для механической разблокировки турникета вставьте ключ (10) в замок механической разблокировки (11) и поверните его на угол 90º по часовой стрелке. После этого преграждающие планки турникета можно свободно поворачивать в обе стороны. Выключение функции механической разблокировки турникета производится в обратном порядке. Убедитесь в том, что турникет заблокирован и преграждающие планки не имеют возможности вращаться ни в одну сторону.
Автоматическая разблокировка турникета
В турникете предусмотрена возможность перевода в режим Fire Alarm от устройства аварийной разблокировки (прибора пожарной сигнализации, аварийной кнопки и т.д.). В этом режиме турникет разблокируется для прохода в обоих направлениях, на блоках индикации горят зеленые стрелки (свободный проход в обоих направлениях), команды управления от других устройств и ПО игнорируются.
Бренд турникета | PERCo |
Вид турникета | Турникет |
Тип турникета | Трипод |
Тип корпуса турникета | Однопроходной, Напольный |
Тип привода турникета | Электромеханический |
Исполнение турникета | Для помещений |
Материал корпуса турникета | Окрашенная сталь |
Преграждающие планки/створки | Антипаника, в комплекте |
Антипаника | Механическая |
Тип блокировки | Нормально закрытый (НЗ) |
Встроенный картоприемник | Нет |
Встроенные считыватели | Без считывателей |
Пропускная способность | 30 чел/мин |
Пульт управления | 1 шт. в комплекте |
Напряжение питания | 12 В |
Источник питания | В комплект НЕ ВХОДИТ! (приобретается отдельно) |
Потребляемая мощность, макс. | 8.5 Вт |
Габариты | 861х833х1025 мм |
Ширина перекрываемого прохода | 833 мм |
Ширина прохода | 600 мм |
Вес, кг | 35 |
Рабочая температура | от +1°C до +40°C |
Рабочая влажность | не выше 80% без конденсации |
Класс защиты (IP) | IP41 |
Класс изоляции | III |
Цвет | Бежевый |
Средний срок службы | Не менее 8 лет |
Сертификаты | Транспортной безопасности |
Гарантия | 5 лет |
Страна производства | Россия |
Функция «Быстрый заказ» позволяет покупателю не проходить всю процедуру оформления заказа самостоятельно. Вы заполняете форму, и через короткое время вам перезвонит менеджер магазина. Он уточнит все условия заказа, ответит на вопросы, касающиеся качества товара, его особенностей. А также подскажет о вариантах оплаты и доставки.
По результатам звонка, пользователь либо, получив уточнения, самостоятельно оформляет заказ, укомплектовав его необходимыми позициями, либо соглашается на оформление в том виде, в котором есть сейчас. Получает подтверждение на почту или на мобильный телефон и ждёт доставки.
Оформление заказа в стандартном режиме
Если вы уверены в выборе, то можете самостоятельно оформить заказ, заполнив по этапам всю форму.
Заполнение адреса
Выберите из списка название вашего региона и населённого пункта. Если вы не нашли свой населённый пункт в списке, выберите значение «Другое местоположение» и впишите название своего населённого пункта в графу «Город». Введите правильный индекс.
Доставка
В зависимости от места жительства вам предложат варианты доставки. Выберите любой удобный способ. Подробнее об условиях доставки читайте в разделе «Доставка».
Оплата
Выберите оптимальный способ оплаты. Подробнее о всех вариантах читайте в разделе «Оплата»
Покупатель
Введите данные о себе: ФИО, адрес доставки, номер телефона. В поле «Комментарии к заказу» введите сведения, которые могут пригодиться курьеру, например: подъезды в доме считаются справа налево.
Оформление заказа
Проверьте правильность ввода информации: позиции заказа, выбор местоположения, данные о покупателе. Нажмите кнопку «Оформить заказ».
Наш сервис запоминает данные о пользователе, информацию о заказе и в следующий раз предложит вам повторить к вводу данные предыдущего заказа. Если условия вам не подходят, выбирайте другие варианты.
Если Вы хотите узнать об условиях доставки и оплаты, но не желаете о них читать, то Вы можете позвонить любому нашему сотруднику, и он обязательно Вам поможет.
Покупка за безналичный расчет
При оплате за безналичный расчет наш сотрудник свяжется с Вами, чтобы подтвердить заказ и уточнить сроки и адрес доставки. После оформления заказа сотрудник нашей компании вышлет вам счет, по которому необходимо будет произвести оплату.
После оплаты заказа к Вам приедет наш курьер, который доставит ваш заказ.
Самостоятельно забрать заказ из пунктов самовывоза Вы можете после его оплаты по безналичному расчету. Оплата доставки до пунктов выдачи транспортных компаний производится по тарифам выбранной Вами транспортной компании непосредственно в месте получения заказа.
Самовывоз из офиса нашей компании в Зеленограде, так же возможен после предоплаты по безналичному расчету, и предварительной договоренности с менеджером.
Интернет-магазин выполняет доставку любого товара своей собственной Службой доставки.
Стоимость доставки курьером
Стоимость доставки по Москве, Все товары —750 руб., бесплатная доставка от 25000 руб
Стоимость доставки по Московской области рассчитывается для каждого заказа индивидуально и зависит от суммарного веса товаров заказа и удаленности адреса доставки.
Время доставки
Время доставки согласовывается с менеджером Службы доставки, который обязательно свяжется с вами сразу после того, как вы разместите свой заказ.
Для осуществления доставки в регионы России мы пользуемся услугами компаний СДЭК, ЖелДорЭкспедиция, Автотрейдинг, Деловые Линии. В таком случае, указанными кампаниями взимается стоимость доставки по их внутренним тарифам с заказчика при получении товара.
Самовывоз
Забрать товар самостоятельно и абсолютно бесплатно можно только по адресу: Москва, Зеленоград, Панфиловский проспект, дом 10.
Забрать товар самовывозом можно по любому из адресов самовывоза указанных здесь, стоимость доставки до пункта самовывоза рассчитывается для каждого заказа по тарифам транспортных компаний.





















