• Двухракурсная установка с независимыми генераторами
• Возможность модернизации до системы автоматического обнаружения взрывчатки 6040aTiX
• Новое поколение генераторов с оптимизированным спектром
• Сенсоры выского разрешения XADA
• Поддержка всех сетевых функций в части удалённого управления и аривирования данных
Hi-Scan 6040aX – двухракурсная рентгено-телевизионная установка с функцией обнаружения взрывчатых веществ, предназначенная для работы на пунктах предполётного досмотра.
Модульная система позволяет провести модернизацию системы до четырёхракурсной установки автоматического обнаружения взрывчатых веществ и досмотра жидкостей Hi-Scan 6040aTiX без изменения внешних габаритных размеров.Основная идея, заложенная при разработке системы, заключается в возможности адаптации к новым требованиям нормативной базы из-за изменяющихся типов угроз.
Современные методы цифровой обработки изображений позволяют обеспечить досмотр в режиме реального времени не замедляя работы пункта досмотра.
Hi-Scan 6040aTiX имеет одобрение ЕС по обнаружению жидких взрывчатых веществ (Стандарт 1, тип С).
Характеристики:
Основные характеристики
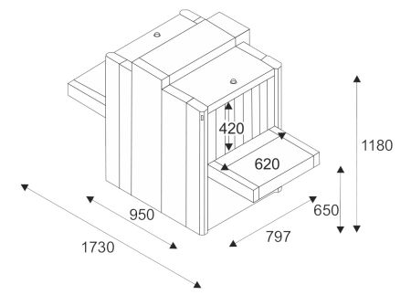
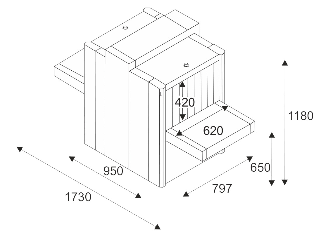
• Размер туннеля: 620 мм × 418 мм (Ш × В)
• Макс. габариты объекта: 615 мм × 410 мм (Ш × В)
• Высота конвейера: 800 мм
• Скорость конвейера при 50 Гц: 0,2 м/с
• Макс. распределённая нагрузка на конвейер: 160 кг
• Разрешающая способность (по проволоке): 0,08 мм
• Проникающая способность (сталь): 35 мм
• Рентгеновская доза при досмотре: 5,5 µSv (0,55 mrem)
• Безопасность для фотопленок: гарантирована для чувствительности до ISO 1600 (33 DIN)
• Цикл работы: 100%, не требует разогрева и перерывов
Рентгеновский генератор
• Количество генераторов в системе: 2 шт. или 4 шт. в версии Hi-Scan 6040aTiX
• Анодное напряжение: 160 кВ
• Охлаждение: герметичная масляная ванна
• Направление пучка: диагональное
Система формирования изображения
• Рентгеновский детектор: детекторная линейка с большим монолитным усилителем
• Режимы изображения: Черно-белый/цветной
• Видеопамять: 1280 × 1024 / 24 бит
• Функции обработки изображения: VARI-МАT, О2, OS, HIGH электронное ZOOM: увеличение 2x, 3x, 4x,...16-ти кратное
• Монитор: 21,5”-цветной монитор, эмиссия соответствует стандарту MPR II и TCO 99
• Дополнительные характеристики индикация даты/времени, счетчик багажа, личный код пользователя, акустическая маркировка багажа, индикация рабочего режима, REVIEW – функция возврата к предыдущим изображениям, обзорное ZOOM – изображение, произвольно программируемые функциональные клавиши.
• Опции HI-MATPlus – классификация материалов, HI-TIP, HI-SPOT, SEN, XPlore, IMS (система запоминания изображений)
Эксплуатационные характеристики
• Радиационная безопасность: Соответствует всем действующим радиационным и медицинским нормам для устройств с радиационным излучением.
• Уровень шума: меньше 70 дб (А)
• Температура эксплуатации: от 0° С до +40° C
• Температура хранения: от -20°C до +60° C
• Влажность воздуха: от 10% до 90% (без образования конденсата)
• Источник питания: стандарт: 230В AC +10% / -15 % , 50 Гц
• Потребляемая мощность: около 1,2 кВт
• Класс защиты клавиатуры: IP 22
• Габаритные размеры: 3300 мм × 1310 мм × 1400 мм (Д × Ш × В)
• Масса: 1400 кг
Бренд | Hi-Scan |
Вид интроскопа | Для досмотра ручной клади |
Тип интроскопа | Стационарный |
Конвеер | Да |
Свойства проекций | 2 проекции |
Исполнение | Для помещений |
Спектр | Рентгеновское излучение |
Размер туннеля | 620х418 мм |
Габариты объекта (макс.) | 615х410 мм |
Высота конвейера от пола | 800 мм |
Скорость конвейера | 0.2 м/с |
Равномерная нагрузка на конвейер | 160 кг |
Разрешение | 0.08 мм (40 AWG) |
Проникающая способность (сталь) | 35 мм |
Круглосуточная работа | Да |
Напряжение питания | 230 В |
Потребляемая мощность, макс. | 1200 Вт |
Габариты | 3300х1310х1400 мм |
Вес, кг | 1400 |
Рабочая температура | от 0°C до +40°C |
Рабочая влажность | 10% - 90% без конденсации |
Страна производства | Германия |
Функция «Быстрый заказ» позволяет покупателю не проходить всю процедуру оформления заказа самостоятельно. Вы заполняете форму, и через короткое время вам перезвонит менеджер магазина. Он уточнит все условия заказа, ответит на вопросы, касающиеся качества товара, его особенностей. А также подскажет о вариантах оплаты и доставки.
По результатам звонка, пользователь либо, получив уточнения, самостоятельно оформляет заказ, укомплектовав его необходимыми позициями, либо соглашается на оформление в том виде, в котором есть сейчас. Получает подтверждение на почту или на мобильный телефон и ждёт доставки.
Оформление заказа в стандартном режиме
Если вы уверены в выборе, то можете самостоятельно оформить заказ, заполнив по этапам всю форму.
Заполнение адреса
Выберите из списка название вашего региона и населённого пункта. Если вы не нашли свой населённый пункт в списке, выберите значение «Другое местоположение» и впишите название своего населённого пункта в графу «Город». Введите правильный индекс.
Доставка
В зависимости от места жительства вам предложат варианты доставки. Выберите любой удобный способ. Подробнее об условиях доставки читайте в разделе «Доставка».
Оплата
Выберите оптимальный способ оплаты. Подробнее о всех вариантах читайте в разделе «Оплата»
Покупатель
Введите данные о себе: ФИО, адрес доставки, номер телефона. В поле «Комментарии к заказу» введите сведения, которые могут пригодиться курьеру, например: подъезды в доме считаются справа налево.
Оформление заказа
Проверьте правильность ввода информации: позиции заказа, выбор местоположения, данные о покупателе. Нажмите кнопку «Оформить заказ».
Наш сервис запоминает данные о пользователе, информацию о заказе и в следующий раз предложит вам повторить к вводу данные предыдущего заказа. Если условия вам не подходят, выбирайте другие варианты.
Если Вы хотите узнать об условиях доставки и оплаты, но не желаете о них читать, то Вы можете позвонить любому нашему сотруднику, и он обязательно Вам поможет.
Покупка за безналичный расчет
При оплате за безналичный расчет наш сотрудник свяжется с Вами, чтобы подтвердить заказ и уточнить сроки и адрес доставки. После оформления заказа сотрудник нашей компании вышлет вам счет, по которому необходимо будет произвести оплату.
После оплаты заказа к Вам приедет наш курьер, который доставит ваш заказ.
Самостоятельно забрать заказ из пунктов самовывоза Вы можете после его оплаты по безналичному расчету. Оплата доставки до пунктов выдачи транспортных компаний производится по тарифам выбранной Вами транспортной компании непосредственно в месте получения заказа.
Самовывоз из офиса нашей компании в Зеленограде, так же возможен после предоплаты по безналичному расчету, и предварительной договоренности с менеджером.
Интернет-магазин выполняет доставку любого товара своей собственной Службой доставки.
Стоимость доставки курьером
Стоимость доставки по Москве, Все товары —750 руб., бесплатная доставка от 25000 руб
Стоимость доставки по Московской области рассчитывается для каждого заказа индивидуально и зависит от суммарного веса товаров заказа и удаленности адреса доставки.
Время доставки
Время доставки согласовывается с менеджером Службы доставки, который обязательно свяжется с вами сразу после того, как вы разместите свой заказ.
Для осуществления доставки в регионы России мы пользуемся услугами компаний СДЭК, ЖелДорЭкспедиция, Автотрейдинг, Деловые Линии. В таком случае, указанными кампаниями взимается стоимость доставки по их внутренним тарифам с заказчика при получении товара.
Самовывоз
Забрать товар самостоятельно и абсолютно бесплатно можно только по адресу: Москва, Зеленоград, Панфиловский проспект, дом 10.
Забрать товар самовывозом можно по любому из адресов самовывоза указанных здесь, стоимость доставки до пункта самовывоза рассчитывается для каждого заказа по тарифам транспортных компаний.





