Двухспектральная IP-камера IPT-B012-G2/S является тепловизионной цилиндрической IP-камерой.
Может быть использована на подстанциях, гидроэлектростанциях, мусоросжигательных заводах, производственных цехах и т. д. Тревога при превышении порога температур позволяет предотвратить возможные нарушения.
Особенности
• Разрешение 160 × 120, 17 мкм, VOx UFPA, тепловая чувствительность NETD ≤ 40 мК (25 °C, F# = 1.1)
• Тревога при превышении порога температур от минус 20 до плюс 150 °C ± 8 °C
• Не является средством обеспечения пожарной безопасности и пожаротушения
• Обеспечивает измерение температуры и передачу данных на монитор
• Технология обработки изображений: линейная, гистограмма, адаптивный режим тепловизионного AGC, DDE, 3D DNR
• Встроенный слот для microSD/SDHC/SDXC: есть, до 256 ГБ
• Встроенный микрофон: нет
Характеристики:
Тепловизор
• Матрица: Неохлаждаемый микроболометрический детектор (оксид ванадия)
• Разрешение: 160 × 120
• Шаг пикселя: 17 мкм
• Спектральный диапазон: От 8 до 14 мкм
• Тепловая чувствительность NETD: < 40 мк (@ 25 °C, F# = 1.1)
• Фокусное расстояние: 6.2 мм
• Мгновенный угол поля зрения: 2.74 мрад
• Угол обзора: 25.0 × 18.7°
• Мин. дистанция фокусировки: 0.6 м
• Апертура: F1.1
• Цифровой зум: 2 ×, 4 ×
Качество изображения
• Окрашивание цели: Есть. Поддержка режимов: White Hot / Black Hot.
Оптическая камера
• Матрица: 1/2.7″ Progressive Scan CMOS
• Разрешение: 2688 × 1520
• Чувствительность: Цвет: 0.0176 лк @ (F2.25, AGC вкл); ч/б: 0.0035 лк @ (F2.25, AGC вкл)
• Скорость электронного затвора: От 1 до 1/100000 с
• Фокусное расстояние: 8 мм
• Угол обзора: 39.42 × 22.14°
• Апертура: F1.6
• WDR: 120 дБ
Подсветка
• Дальность: ИК-подсветки До 40 м
• Интенсивность ИК-подсветки и регулировка угла: Авторегулировка
Звуковая и визуальная сигнализация
• Дальность подсветки белым светом: До 40 м
• Визуальная сигнализация: Есть. Подсветка белым светом, настраиваемая частота вспышки
• Звуковая сигнализация:
- Есть, для двух типов звуковой сигнализации (VCA и тревога при превышении порога температур)
- 2 типа предустановленных голосовых оповещений (по одному для каждого)
- 6 типов импортируемых настраиваемых голосовых оповещений (6 вариантов, общих для 2 типов)
Интеллектуальные функции
• VCA: 4 типа правил VCA (пересечение линии, вторжение, вход / выход из области), всего до 8 правил VCA
• Измерение температуры: 3 типа правил измерения температуры, всего 21 правило (10 точек, 10 областей и 1 линия)
• Диапазон температур: От -20 до +150 °C
• Точность измерения температуры: ±8 °C
Видео и аудио
• Основной поток:
- Тепловизионный модуль: 25 к/с (1280 × 720, 704 × 576, 640 × 480, 352 × 288, 320 × 240)
- Оптический модуль: 50 Гц: 25 к/с (2688 × 1520, 1920 × 1080, 1280 × 720); 60 Гц: 30 к/с (2688 × 1520, 1920 × 1080, 1280 × 720)
• Дополнительный поток:
- Тепловизионный модуль: 25 к/с (704 × 576, 352 × 288, 320 × 240)
- Оптический модуль: 50 Гц: 25 к/с (704 × 576, 352 × 288); 60 Гц: 30 к/с (704 × 480, 352 × 240)
• Видеосжатие:
- Основной поток: H.265/H.264
- Дополнительный поток: H.265/H.264/MJPEG
• Аудиосжатие: G.722.1/G.711ulaw/G.711alaw/MP2L2/G.726/PCM
Сеть
• Протоколы: IPv4/IPv6, HTTP, HTTPS, 802.1x, QoS, FTP, SMTP, UPnP, SNMP, DNS, DDNS, NTP, RTSP, RTCP, RTP, TCP, UDP, IGMP, ICMP, DHCP, PPPoE
• Сетевое хранение: Локальное хранение: microSD/SDHC/SDXC-карта (до 256 ГБ); NAS (NFS, SMB/CIFS), автоматическая детекция сетевого статуса (ANR)
• API: Поддержка ISAPI, HIKVISION SDK и сторонней платформы управления, ONVIF (Profile S, Profile G, Profile T)
• Одновременный просмотр в режиме реального времени: До 20 каналов
• Уровни пользователя / хоста: До 32 пользователей, 3 уровня: администратор, оператор и пользователь
• Безопасность: Аутентификация пользователя (ID и PW), аутентификация хоста (MAC-адрес), шифрование HTTPS, IEEE 802.1x(EAP-MD5, EAP-TLS), контроль доступа, фильтрация IP-адресов
• Клиент: iVMS-4200, Hik-Connect
• Веб-интерфейс:
- Просмотр в режиме реального времени (плагин поддерживается): Internet Explorer 11
- Просмотр в режиме реального времени (плагин не требуется): Chrome 57.0+, Firefox 52.0 +.
- Локальные сервисы: Chrome 57.0+, Firefox 52.0+
Интерфейс
• Тревожный вход: 2, тревожный вход (DC от 0 до 5 В)
• Тревожный выход: 2, тревожный выход (настраиваемые действия по тревоге)
• Действия по тревоге: Запись на-карту / релейный выход / смарт-снимок / загрузка на FTP / отправка Email
• Аудиовход:
- 1, вход микрофона 3.5 мм / линейный вход
- Линейный вход: от 2 до 2.4 В [p-p]; выходное сопротивление: 1 кОм ± 10 %
• Аудиовыход: Линейный уровень; сопротивление 600 Ом
• Сетевые интерфейсы:
- 1, RJ45 auto 10/100 М Ethernet.
- 1, RS-485 (полудуплекс)
• Аналоговый видеовыход: 1.0 В [p-p]/75 Ом, PAL/NTSC/ BNC
Основное
• Язык веб-клиента: 32 языка
• Питание: DC 12 В ± 25 %, коаксиальный разъем питания Ø 5.5 мм, PoE (802.3 af, класс 3)
• Потребляемая мощность:
- DС 12 В ± 25 %: 0.5 А, макс. 6 Вт
- PoE (802.3 af, класс 3): от 42.5 до 57 В, от 0.14 до 0.22 А, макс. 6.5 Вт
• Рабочая температура / влажность
• Температура:: от -40 до +65 °C, влажность: 95 % и меньше
• Уровень защиты: Стандарт IP66; грозозащита 6000 В, защита от импульсных и переходных перенапряжений
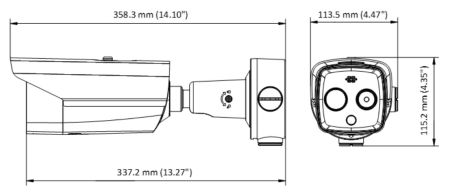
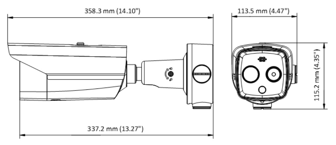
• Размеры: 358.3 × 113.5 × 115.2 мм (14.10 × 4.47 × 4.35″)
• Масса: Приблиз. 1.76 кг
Бренд | HiWatch |
Тип камеры | Цилиндрическая, Биспектральнаая |
Вид камеры | IP |
Исполнение | Уличное |
Тип тепловизора | Стационарный |
Диапазон измеряемых температур | от -20°C до +150°C |
Тип матрицы | Неохлаждаемый микроболометр |
Объектив | С фиксированным фокусным расстоянием |
Фокусное расстояние | 6.2 мм |
Угол обзора | 25° - 18.7° |
Частота кадров при максимальном разрешении | 25 к/с |
Назначение тепловизора | Бытовые, Гражданские, Для наблюдения |
Карты памяти SD | С поддержкой SD карт, Micro SD/SDHC/SDXC (до 256Гб) |
Поддерживаемая видеоаналитика | Детекция движения, Вторжение в зону, Пересечение виртуальных линий, Детектор дыма и огня |
Стандарт ONVIF | Поддерживается, Profile S, Profile G, Profile T |
Сетевой интерфейс | Ethernet 10/100M |
Кибербезопасность | HTTPS |
Видеокодек | H.264, H.265, MJPEG |
Аудиокодек | MP2L2, PCM, G.711, G.722, G.726 |
Встроенный микрофон | Нет |
Тревожные входы | 2 |
Тревожные выходы | 2 |
Напряжение питания | 12 В / PoE |
Источник питания | Внешний адаптер (в комплект не входит), PoE |
Потребляемая мощность, макс. | 6.5 Вт |
PoE стандарт | IEEE 802.3af |
Габариты | 358.3х113.5х115.2 мм |
Вес, кг | 1.8 |
Рабочая температура | от -40°C до +65°C |
Рабочая влажность | не выше 96% без конденсации |
Класс защиты (IP) | IP66 |
Разъем видео | BNC (1.0 Vp-p, 75Ω) |
Гарантия | 2 года |
Страна производства | Китай |
Функция «Быстрый заказ» позволяет покупателю не проходить всю процедуру оформления заказа самостоятельно. Вы заполняете форму, и через короткое время вам перезвонит менеджер магазина. Он уточнит все условия заказа, ответит на вопросы, касающиеся качества товара, его особенностей. А также подскажет о вариантах оплаты и доставки.
По результатам звонка, пользователь либо, получив уточнения, самостоятельно оформляет заказ, укомплектовав его необходимыми позициями, либо соглашается на оформление в том виде, в котором есть сейчас. Получает подтверждение на почту или на мобильный телефон и ждёт доставки.
Оформление заказа в стандартном режиме
Если вы уверены в выборе, то можете самостоятельно оформить заказ, заполнив по этапам всю форму.
Заполнение адреса
Выберите из списка название вашего региона и населённого пункта. Если вы не нашли свой населённый пункт в списке, выберите значение «Другое местоположение» и впишите название своего населённого пункта в графу «Город». Введите правильный индекс.
Доставка
В зависимости от места жительства вам предложат варианты доставки. Выберите любой удобный способ. Подробнее об условиях доставки читайте в разделе «Доставка».
Оплата
Выберите оптимальный способ оплаты. Подробнее о всех вариантах читайте в разделе «Оплата»
Покупатель
Введите данные о себе: ФИО, адрес доставки, номер телефона. В поле «Комментарии к заказу» введите сведения, которые могут пригодиться курьеру, например: подъезды в доме считаются справа налево.
Оформление заказа
Проверьте правильность ввода информации: позиции заказа, выбор местоположения, данные о покупателе. Нажмите кнопку «Оформить заказ».
Наш сервис запоминает данные о пользователе, информацию о заказе и в следующий раз предложит вам повторить к вводу данные предыдущего заказа. Если условия вам не подходят, выбирайте другие варианты.
Если Вы хотите узнать об условиях доставки и оплаты, но не желаете о них читать, то Вы можете позвонить любому нашему сотруднику, и он обязательно Вам поможет.
Покупка за безналичный расчет
При оплате за безналичный расчет наш сотрудник свяжется с Вами, чтобы подтвердить заказ и уточнить сроки и адрес доставки. После оформления заказа сотрудник нашей компании вышлет вам счет, по которому необходимо будет произвести оплату.
После оплаты заказа к Вам приедет наш курьер, который доставит ваш заказ.
Самостоятельно забрать заказ из пунктов самовывоза Вы можете после его оплаты по безналичному расчету. Оплата доставки до пунктов выдачи транспортных компаний производится по тарифам выбранной Вами транспортной компании непосредственно в месте получения заказа.
Самовывоз из офиса нашей компании в Зеленограде, так же возможен после предоплаты по безналичному расчету, и предварительной договоренности с менеджером.
Интернет-магазин выполняет доставку любого товара своей собственной Службой доставки.
Стоимость доставки курьером
Стоимость доставки по Москве, Все товары —750 руб., бесплатная доставка от 25000 руб
Стоимость доставки по Московской области рассчитывается для каждого заказа индивидуально и зависит от суммарного веса товаров заказа и удаленности адреса доставки.
Время доставки
Время доставки согласовывается с менеджером Службы доставки, который обязательно свяжется с вами сразу после того, как вы разместите свой заказ.
Для осуществления доставки в регионы России мы пользуемся услугами компаний СДЭК, ЖелДорЭкспедиция, Автотрейдинг, Деловые Линии. В таком случае, указанными кампаниями взимается стоимость доставки по их внутренним тарифам с заказчика при получении товара.
Самовывоз
Забрать товар самостоятельно и абсолютно бесплатно можно только по адресу: Москва, Зеленоград, Панфиловский проспект, дом 10.
Забрать товар самовывозом можно по любому из адресов самовывоза указанных здесь, стоимость доставки до пункта самовывоза рассчитывается для каждого заказа по тарифам транспортных компаний.







